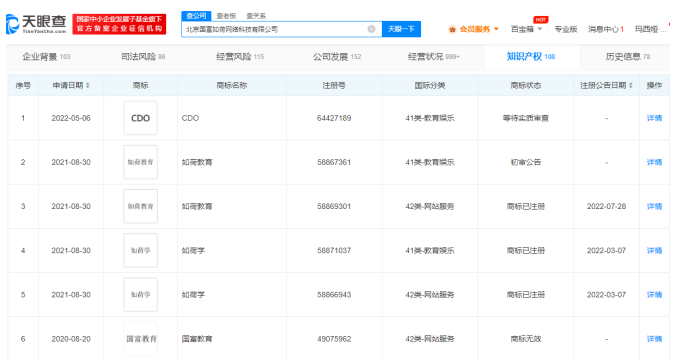
近日,国家知识产权局商标局中国商标网及天眼查APP信息查询显示,北京国富如荷网络科技有限公司(简称国富如荷)已成功注册CDO商标,国际分类为教育娱乐,这枚商标申请于2015年12月。

随着国家数据局的组建及数据20条的颁布,数字化人才培养及企业数字化转型可谓是大势所趋。利好政策不仅促进了数据要素市场的进一步发展,更是助推企业首席数据官(CDO)制度加速落地。推动CDO制度,将助力企业统筹数据管理、挖掘数据资源、激活数据驱动力、保障数据安全。不过,企业CDO制度仍处于起步阶段,CDO相关职位在多个招聘网站中仍较少,未来如何推广CDO制度仍需长时间探索。
据了解,北京国富如荷网络科技有限公司是面向中高端用户的、培养DT时代前沿技术人才的国际化职业教育集团,也是CDA®️官方唯一授权报考教育企业。旗下已有商标包括CDO、如荷教育、如荷学、国富教育、好学AI、人工智能学院、人人都是数据分析师等。此次国富如荷提前筹划并成功注册了cdo商标,或许是其抢先布局,将要发力cdo人才培训领域的信号。

国富如荷专注数据分析行业17年,沉淀了丰富的数据统计、数据分析、大数据人才培养等经验,累计服务企业1000+、学员100000+。其主推的数据领域权威人才认证标准CDA认证是一套专业化、科学化、国际化、系统化的人才考核标准,分为CDA LEVELⅠ,LEVEL Ⅱ,LEVEL Ⅲ,涉及金融、电商、医药、互联网、电信等行业大数据及数据分析从业者所需要具备的技能。
(以上内容来源如无标示深港网皆为本网站转自其它媒体,相关信息仅为传递更多信息之目的,不代表本网观点,亦不代表本网站赞同其观点或证实其内容的真实性。如有侵权,请来信告知,本站不负任何法律责任。)
