过去十余年时间民营经济占全国GDP的比重由不到50%升至60%以上,民营经济作为中国市场经济的重要组成部分,对于推动经济增长、促进就业、增强创新能力等方面具有不可替代的作用。中国社会科学网透露:民营企业科技创新能力持续增强,截至2021年底国家级专精特新“小巨人”企业达到4762家,其中民营企业占比超过80%,中国民营企业持续加大科研投入,将推动中国的经济、科技、教育高质量发展。
在当前国内外经济形势复杂多变的背景下,如何进一步激发民营经济的活力,助力高质量发展尤为重要。今天带大家来了解一家非常有潜力的国际化民营教具品牌—格林熊。
(格林熊STEAM建构教室效果图)
上海慧幼教育科技有限公司成立于2015年,是一家集自主研发生产、销售培训服务、产品代理为一体,以让每个孩子快乐成长为宗旨的民营教育科技企业。现拥有上海销售服务中心、上海产品研发中心、江西仓储生产基地、杭州教研中心、美国技术研发中心。上海慧幼教育科技有限公司旗下核心品牌是格林熊。经过多年的务实发展,格林熊已经拥有野战、军事体育、STEAM趣玩大拼板、STEAM建构、STEAM芝士轨道、STEAM建构教室、光影实验、STEAM沙水等系列的优质产品,产品的品类和创意持续增强,成为了很多国内优质幼儿园重点选择产品之一。
(格林熊品牌上海总部)
小编从格林熊的微信公众号获知,上海慧幼教育科技有限公司旗下品牌“格林熊GLYNSSO”致力于将世界教育带给中国孩子,我们整合国内外学前教育资源,将世界先进的教学理念与我国传统教育理念结合,自主创新开发对中国孩子有益的幼教产品。“格林熊GLYNSSO”始终立足于长期可持续发展,着眼于每位经销商在未来继续保持互利互惠的友好合作关系,我们用优质的产品与服务帮助我们的合作经销商朋友获得最大的成功。至今格林熊已经与近3000+经销商伙伴达成“优质联盟”的合作,并协助合作伙伴服务近3w+园所,覆盖600w+儿童。经过多年坚持不懈的努力格林熊已经成为了国内优秀教具品牌。
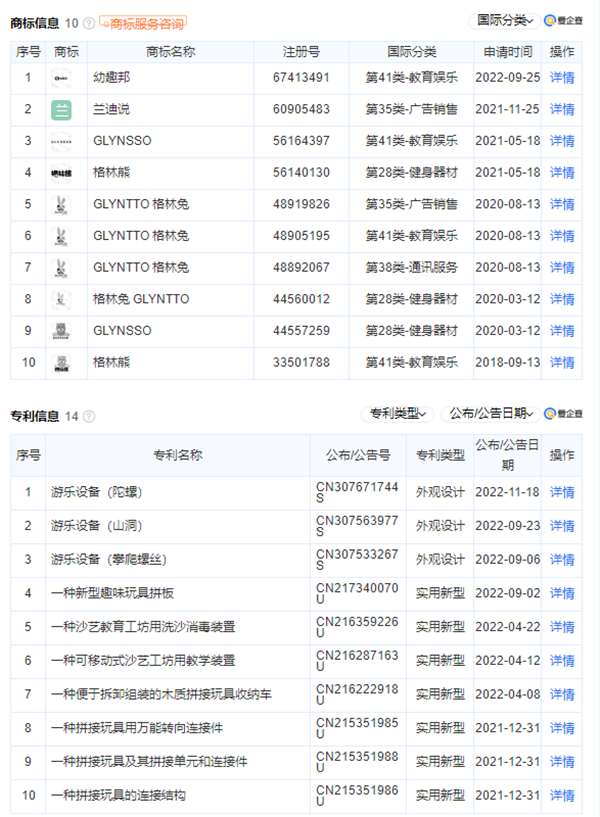
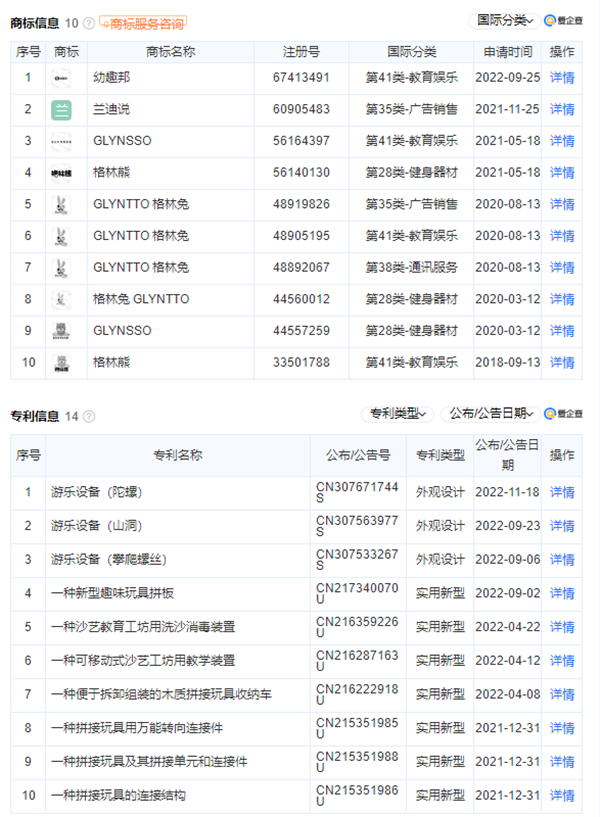
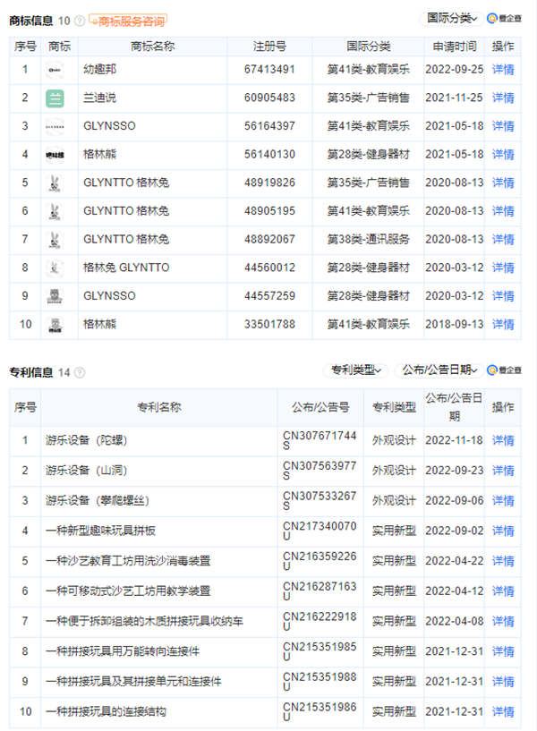
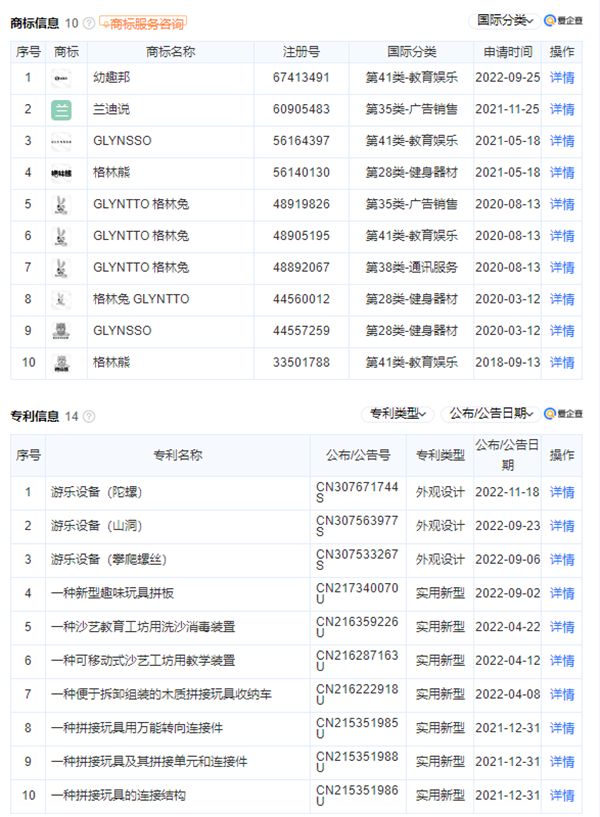
(上海慧幼教育科技有限公司的旗下商标和专利)
(上海慧幼教育科技有限公司拥有10个商标和14个专利)
经过八年的脚踏实地发展上海慧幼教育科技有限公司已经拥有格林熊、幼趣邦、兰迪说等11个商标品牌和游乐设备(陀螺)、游乐设备(山洞)、一种可移动式沙艺工坊用教学装置、一种新型趣味玩具拼板等14个专利。慧幼教育科技专注于教育科技的研发、创新,追求给中国孩子带来世界先进的教育理念和优质的教育玩具产品。
(格林熊品牌创始人曾仁建先生在美国亚利桑那州立大学留学照片)
上海民营企业家、上海慧幼教育科技有限公司CEO、格林熊品牌创始人曾仁建先生,毕业于全美规模最大的公立研究型大学之一的美国亚利桑那州立大学教育学硕士(该校连续6年被《美国新闻与世界报道》评为最具创新力大学)。多年的合作伙伴们都知道,作为格林熊品牌的创始人、团队的一家之长、企业的掌舵人,他被大家亲切地称“老曾”或英文名“兰迪”。曾总在大学期间就开始创业,是一位连续创业者;在他引领下,上海慧幼教育科技始终致力于研发出符合儿童成长特点、安全可靠的产品。逐渐在市场上树立起了良好的口碑和品牌形象。
(格林熊品牌创始人曾仁建先生在品牌新产品发布现场与外国友人合影留念)
选择教育行业,也是源于格林熊创始人曾总对儿童教育的深切关注和对市场需求的敏锐洞察。他希望通过自己的努力,将世界教育带给中国孩子,推动中国教育高质量发展。
(格林熊品牌关爱藏族聚居区儿童公益行)
格林熊作为国内优秀的教具品牌不仅专注于教育科技产业的发展,而且低调地支持公益慈善事业。据格林熊品牌部透露:今年4月格林熊品牌创始人、上海慧幼教育科技有限公司CEO曾仁建先生自驾5000多公里到西藏为山区两所幼儿园的几十名孩子送上精美的科教玩具,实际行动奉献上海民营企业家的责任和担当,体现了民营企业家的正能量和大爱。作为国际化的民营教具品牌格林熊将积极号召行业企业家一起,每年定期为贫困山区孩子贡献微薄力量。中国的民营企业不仅是中国经济增长、税收、外贸的主力军,也是中国公益事业的重要支持力量。
最后,在严峻复杂的经济环境下期待中国民营经济厚积薄发、逆势前行,拭目以待。








