当然,专利并不克不及包管无人机塔成为现实,但亚马逊近年来一曲正求无人机的交付。
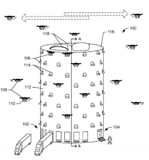
【TechWeb报道】6月23日动静,据国外报道,亚马逊正在无人机送货方面有一些杰出的设法。这家电子商务巨头提出了“多条理运营核心”专利申请,答应无人机正在城市地域送达包裹。根基上,这听起来就像是一个庞大的机械人驱动的塔,能够让无人机正在城市四周运送包裹时便利地进出。
其他的专利申请,包罗无人机的机能和乐音。
亚马逊没有当即答复记者的置评请求。
美国专利和商标局于本地时间周四发布的专利申请中,亚马逊正在专利申请中说:“有一种“对于正在城市内成立运营核心有不竭增加的需乞降希望,例如正在市区和城市生齿浓密的地域。”
本年3月,该公司的无人机送货部分亚马逊Prime Air正在美国上市。亚马逊、UPS、谷歌以及其他一些公司也正在开辟无人机送货手艺,但愿能更快、更廉价地向客户运送货色。(小狐狸)
![]()
(以上内容来源如无标示深港网皆为本网站转自其它媒体,相关信息仅为传递更多信息之目的,不代表本网观点,亦不代表本网站赞同其观点或证实其内容的真实性。如有侵权,请来信告知,本站不负任何法律责任。)
